亚娱体育app官网
|
加入收藏
|
联系我们
项 目
项 目
采 购
新 闻
机 构
搜索
首页
中心概况
亚娱(中国)频道
国资采购
资讯中心
市场平台
交易指南
交易系统
当前位置
>
交易指南
>
交易流程
交易指南
交易规则
交易流程
其他
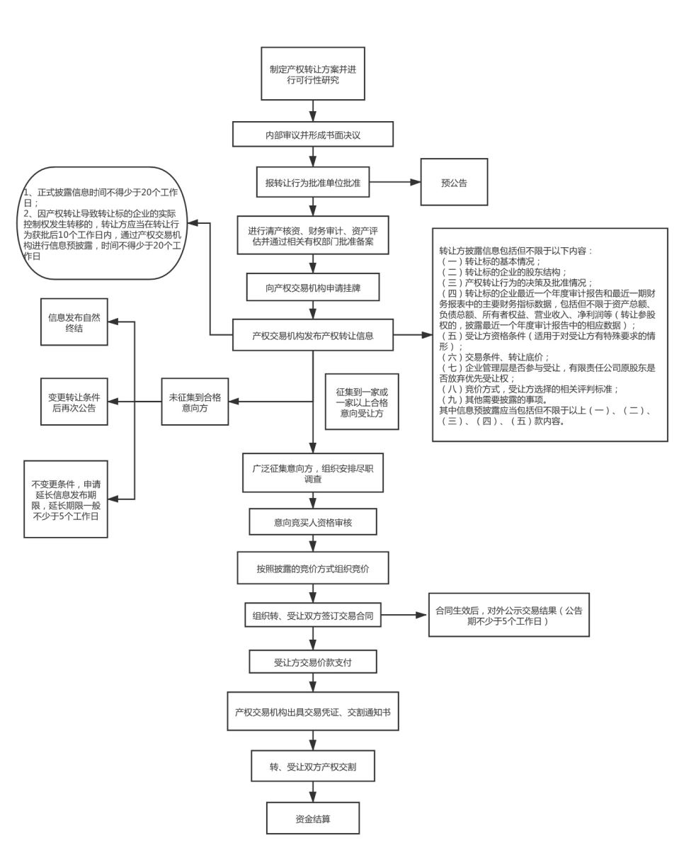
企业国有产权转让交易流程
发布时间:
2018-03-13
企业国有产权转让交易流程.pdf
心博在线登录官网
|
华体app官网登录
|
买球
|
开云集团
|
心博在线官网
|
新利集团官网(中国)官方网站
|
九州酷游最新登录
|
开云手机在线官网
|